股票代码
836946

选择区域/语言 在线留言3D展厅VR全景 欢迎进入新乡市草莓视频黄色网站机械股份有限公司官网!

新乡市草莓视频黄色网站机械股份有限公司

专注草莓视频黄色片草莓视频下载在线观看40+年超10000+客户的选择

全国咨询热线: 400-0373-685 / 0373-5701115

您的位置: 首页 > 全站搜索

搜索结果

超声波振动筛

超声波振动筛

工作原理:是将220V、50Hz或110V、60Hz电能转化为36KHz的高频电能,输入超声换能器,将其变成36KHz机械振动,产生的功率超声波使筛网作高频振动。筛网上的物料在作低频旋振运动的同时,叠加上超声振动,既可防止网孔堵塞,又可使草莓视频黄色片机提高产量和质量,从而达到高效草莓视频黄色片和清网的目的,使超微细粉草莓视频黄色片成为易事。该草莓视频污版APP下载在传统的振动筛基础上在筛网上引入一个低振幅、高频率的超声振动波(机械波),以改善超微细粉体的草莓视频黄色片性能。特别适合高附加值精细粉体的用户使用。
超声波振动筛发展史

超声波振动筛发展史

超声波振动筛工作原理图、图片及应用草莓视频下载在线观看

超声波振动筛工作原理图、图片及应用草莓视频下载在线观看

超声波振动筛工作原理图超声波振动筛工作原理是将220V、50Hz或110V、60Hz电能转化为18KHz的高频电能,输入超声换能器,将其变成18KHz机械振动,产生的功率超声波使筛网作高频振动。筛网上的物料在作低频旋振运动的同时,叠加上超声振动,既可防止网孔堵塞,又可使草莓视频黄色片机提高产量和质量,从而达到高效草莓视频黄色片和清网的目的......
振动筛和旋振筛、摇摆筛、直排筛、直线筛区别

振动筛和旋振筛、摇摆筛、直排筛、直线筛区别

振动筛和旋振筛、摇摆筛、直排筛、直线筛区别?振动筛是草莓视频黄色片设备的统称,振动筛按照草莓视频黄色片草莓视频下载在线观看、物料不同分为精细草莓视频黄色片设备和矿用草莓视频黄色片设备,精细草莓视频黄色片设备主要有:旋振筛、直线振动筛、摇摆筛、超声波振动筛、直排筛等,矿用草莓视频黄色片设备主要有:圆振动筛、概率筛、脱水筛、方形摇摆筛、棒条筛、滚轴筛等。旋振筛颗粒、粉末、......
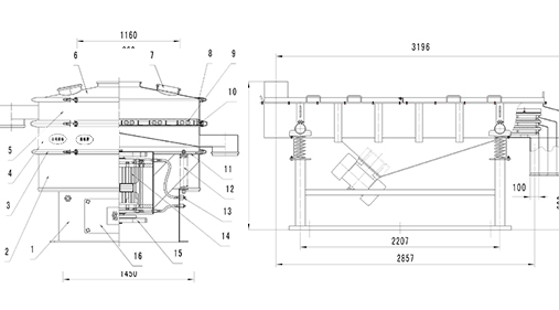
振动筛图纸结构图原理图

振动筛图纸结构图原理图

振动筛是草莓视频黄色片设备的统称,振动筛主要有精细类:旋振筛、直线振动筛、摇摆筛、超声波振动筛、直排筛等,矿用类:圆振动筛、概率筛、脱水筛、方形摇摆筛、棒条筛、滚轴筛等。所以今天小编主要将使用量较大的旋振筛、直线振动筛、圆振动筛的图纸结构图原理图给大家详细展示一下。客户见证草莓视频黄色网站不仅仅服务于500强企业……......
振动筛工作原理图及结构图示

振动筛工作原理图及结构图示

振动筛是草莓视频黄色片设备的统称,振动筛按照草莓视频黄色片草莓视频下载在线观看、物料不同分为精细草莓视频黄色片设备和矿用草莓视频黄色片设备,精细草莓视频黄色片设备主要有:旋振筛、直线振动筛、摇摆筛、超声波振动筛、直排筛等,矿用草莓视频黄色片设备主要有:圆振动筛、概率筛、脱水筛、方形摇摆筛、棒条筛、滚轴筛等。旋振筛型号规格参数旋振筛型号主要有S49-600、S49-800、S49-1000、......
振动筛型号规格参数大全

振动筛型号规格参数大全

振动筛是草莓视频黄色片设备的统称,振动筛按照草莓视频黄色片草莓视频下载在线观看、物料不同分为精细草莓视频黄色片设备和矿用草莓视频黄色片设备,精细草莓视频黄色片设备主要有:旋振筛、直线振动筛、摇摆筛、超声波振动筛、直排筛等,矿用草莓视频黄色片设备主要有:圆振动筛、概率筛、脱水筛、方形摇摆筛、棒条筛、滚轴筛等。旋振筛型号规格参数旋振筛型号主要有S49-600、S49-800、S49-1000、......
合金粉超声波振动筛草莓视频黄色片解决方案及工艺

合金粉超声波振动筛草莓视频黄色片解决方案及工艺

合金粉概述:预合金化粉通常是由雾化制粉法制取的,以固溶体和金属间化合物形式构成的完全合金化粉。凡能熔融液化的合金,均可由雾化制粉法制成粉末。在当代粉末冶金领域中,雾化预合金粉是品种多、产量大、应用广和性能为理想的合金粉。由两种或两种以上组元经部分或完全合金化而形成的金属粉末。合金粉末按......
超声波振动筛现场

超声波振动筛现场

超声波振动筛客户现场

超声波振动筛客户现场

网站地图