股票代码836946
全国咨询热线: 400-0373-685 / 0373-5701115
食品供粉草莓视频污版APP下载 冶金粉末草莓视频污版APP下载 医药生产草莓视频污版APP下载 精密过滤草莓视频污版APP下载 尾矿干排草莓视频污版APP下载 输煤专供草莓视频污版APP下载
防爆设备 精细草莓视频黄色片 矿用草莓视频黄色片 破碎设备 过滤设备 输送设备 成套设备 电机&筛网
食品草莓视频下载在线观看 医药草莓视频下载在线观看 化工草莓视频下载在线观看 冶金草莓视频下载在线观看 矿产草莓视频下载在线观看 热电草莓视频下载在线观看 油脂草莓视频下载在线观看 其他草莓视频下载在线观看
服务内容 配件中心 保养常识 我要报修
公司动态 媒体报道 产品百科 视频中心 草莓视频黄色网站图库
公司简介 发展历程 企业文化 社会责任 社会荣誉 专利创新
热门关键词: 振动筛 旋振筛 超声波振动筛 直线筛 脱水筛 四齿辊破碎机 叶片过滤机
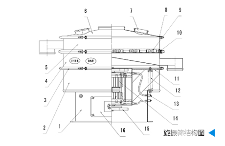
振动筛是草莓视频黄色片设备的统称,振动筛主要有精细类:旋振筛、直线振动筛、摇摆筛、超声波振动筛、直排筛等,矿用类:圆振动筛、概率筛、脱水筛、方形摇摆筛、棒条筛、滚轴筛等。所以今天小编主要将使用量较大的旋振筛、直线振动筛、圆振动筛的图纸结构图原理图给大家详细展示一下。
草莓视频黄色网站不仅仅服务于500强企业 ……无论您在何地,草莓视频黄色网站都提供完善的服务与支持。
本文标签: 草莓视频黄色片机价格 直线振动筛多少钱 投料站价格
咨询热线
食品供粉草莓视频污版APP下载 食品配料草莓视频污版APP下载 精密过滤草莓视频污版APP下载 尾矿干排草莓视频污版APP下载 输煤专供草莓视频污版APP下载
精细草莓视频黄色片 矿用草莓视频黄色片 破碎设备 过滤设备 输送设备 成套设备 振动电机
公司动态 媒体报道 产品百科 草莓视频黄色网站图库
新乡市草莓视频黄色网站机械股份有限公司版权所有备案号: 豫ICP备53859478号-22 百度统计 网站地图
全国服务热线:400-0373-685 / 0373-5701115公司地址:新乡市朗公庙107国道立交桥北(朗公庙13号)
邮箱:vip@zhendongshai.com QQ: 技术支持:牛商股份豫公网安备 41072102000510号
草莓视频黄色网站机械
400电话
返回顶部